Aluminijske protihrupne panele je potrebno vgraditi v njihovi izvorni obliki. Odstranjevanje tesnilnih “o” gumi profilov, ki so vstavljeni v bočne aluminijske profile panela ni dovoljeno odstraniti.
Pri vgradnji med vroče cinkane HE stebre je potrebno preprečiti direkten stik med kovinskimi stebri in aluminijskimi deli protihrupnega panela.
Panele je potrebno med kovinske stebre vgraditi elastično. Dolžina panelov mora biti 4 cm krajša od rastra vgradnje HE stebrov, tako, da se lahko panel ob spremembi temperature nemoteno krči in razsteza (dilatacija).

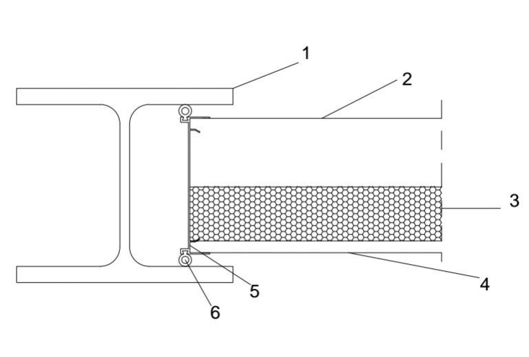
1 – HEA/HEB steber
2 – zadnja aluminijska pločevina panela
3 – hidrofobna mineralna volna
4 – sprednja, aluminijska pločevina panela
5 – bočni aluminijski profil aluminijskega panela – nebarvan
6 – »O« gumi tesnilo
Aluminijski in transparentni protihrupni paneli Calvero, se enostavno medsebojno kombinirajo. Dimenzije vzdolžni aluminijski profilov na transparentnih in aluminijskih panelih so med sabo usklajene, tako, da so stiki med obema vrstama panelov zvočno tesni.

1 – akrilna plošča
2 – vzdolžni – spodnji aluminijski profil transparentnega panela
3 – aluminijski protihrupni panel Calvero
4 – vzdolžni – zgornji aluminijski profil transparentnega panela